Producenci smartfonów zachodzą w głowę, jak zwiększyć powierzchnię ekranu smartfonu, nie zwiększając tym samym jego wielkości oraz wagi. Jakich wyświetlaczy możemy spodziewać się w kolejnych generacjach smartfonów?
Schemat, który trzeba przełamać
Smartfony na przełomie ostatnich lat rosły, wraz z powierzchnią ekranu, dawało to także dodatkowe korzyści w postaci większych akumulatorów oraz większej powierzchni chłodzenia podzespołów. Od jakiegoś czasu wielkość obudowy poręcznych smartfonów przyhamowała, na korzyść poręczności urządzeń, a nowoczesna technologia pozwoliła zmniejszyć producentom ramki i wykorzystać maksymalnie przedni panel jako ekran. Kiedy ramka wokół ekranu w smartfonie prawie znikła i skończyły się możliwości, tym samym zagęszczanie pikseli nie miało już takiego znaczenia, ktoś musiał przełamać schematy.
Patent Samsunga na lepszy smartfon
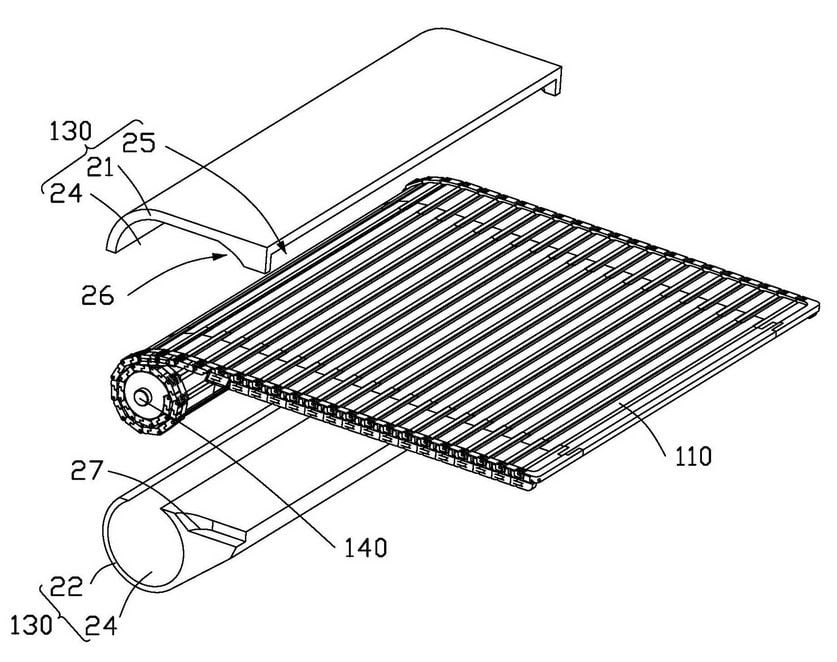
Koreański producent opatentował właśnie pomysł wysuwanego wyświetlacza. Znane już nam wcześniej były ekrany rozkładane, dotychczasowe jednak nie dawały jakiegoś przełomu, gdyż odbywało się to zawsze jakimś kosztem np. trwałością często zginanego ekranu w jednym miejscu lub zwiększoną grubością po złożeniu. Być może z nadchodzącą czwartą generacją składanych ekranów, doczekamy się trwalszych rozwiązań. Alternatywą dla składania ma być wysuwanie elastycznego ekranu owiniętego wokół obudowy.

Zasada działania ekranu od Samsunga
Jak działa nowy wyświetlacz od Samsunga? Ekran pierwotnie zawinięty jest wokół obudowy i kończy się na tylnej części. Przez wysunięcie ekranu tylna część przewija się po rolce na przód, zwiększając tym samym powierzchnię przedniego ekranu. W uproszczeniu ekran nie kończy się na krawędzi, a zawija się na tył aparatu. Na tym jeszcze nie koniec.
Niewątpliwie korzyścią takiej budowy jest rozwiązanie problemu z przednim aparatem, który staje się zbędny. Tryb selfie dostępny jest z tylnego aparatu, a zawinięty wyświetlacz daje podgląd w czasie rzeczywistym.
Technologia futurystycznych wyświetlaczy od Huawei
Chiński koncern także ma swój pomysł na zwiększenie funkcjonalności podstawowych smartfonów. Nowy zgłoszony patent wskazuje na ruchomy wyświetlacz, który może być wysuwany z obudowy. Ekran zgodnie z opisanym patentem miałby zostać nawinięty na rolkę, która umieszczona byłaby wewnątrz obudowy.

Dotychczas zwijane ekrany można było obserwować tylko w telewizorach, które ze względu na nowe technologie kosztują nawet 460 tys. zł. za model 65”. Wszystko wskazuje na to, że forma dotychczas występujących smartfonów, tabletów, laptopów itp. na przełomie kolejnych lat mocno się zmieni.








